
图片来源于网络,如有侵权,请联系删除
证券之星消息,根据天眼查APP数据显示格力电器(000651)新获得一项实用新型专利授权,专利名为“一种管端喇叭口成型装置”,专利申请号为CN202422076732.0,授权日为2025年7月8日。
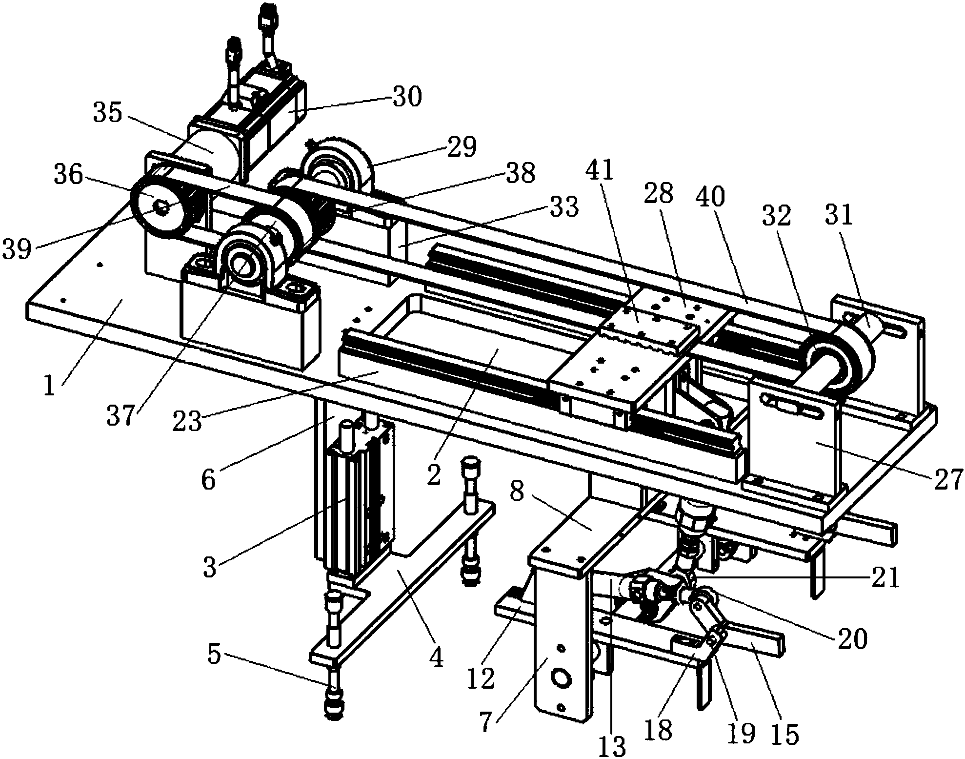
专利摘要:本实用新型提供一种管端喇叭口成型装置,用于管件管端双层喇叭口结构的成型,包括内折边机构及扩口机构;所述内折边机构包括第一夹紧组件、第二夹紧组件、旋转组件、切割组件及挤压组件,所述切割组件可用于切割管件的管壁,所述挤压组件可以向内挤压所述管件的管壁形成内折边结构;所述扩口机构包括第三夹紧组件及冲头组件,所述冲头组件设置有与所述管件同轴的锥形冲头,使用所述锥形冲头沿管件轴向朝管件的管口运动,此时管口内折边结构受到向内的挤压力开始向内对折,同时所述锥形冲头锥面向外挤压,即可形成管端双层喇叭口结构;双侧喇叭口结构强度大,耐压性好,可以减少连接管泄露的问题发生。

图片来源于网络,如有侵权,请联系删除
今年以来格力电器新获得专利授权3725个,较去年同期减少了8.32%。结合公司2024年年报财务数据,2024年公司在研发方面投入了69.04亿元,同比增2.1%。
通过天眼查大数据分析,珠海格力电器股份有限公司共对外投资了101家企业,参与招投标项目27988次;财产线索方面有商标信息8135条,专利信息115189条,著作权信息297条;此外企业还拥有行政许可827个。
数据来源:天眼查APP
以上内容为证券之星据公开信息整理,由AI算法生成(网信算备310104345710301240019号),不构成投资建议。





